Valve Deckard: вся информация
Valve Index, одна из самых популярных VR гарнитур для компьютера, была выпущена в 2019 году, то есть, почти 4 года назад. В быстро развивающейся индустрии виртуальной реальности это слишком большой срок жизни шлема. За это время курс сменился с ПК ВР на автономные устройства, появились новые типы линз и новые стандарты характеристик.
Valve не напрямую намекает на свою следующую итерацию Valve Index. Это одна из компаний, которая инвестировала в исследования виртуальной реальности до выхода Oculus Rift DK1.
Главным спонсором новостей про Valve Deckard стал Брэд Линч, датамайнер, раскрывший внешний вид Quest 3 и Quest Pro задолго до их анонса, характеристики HTC XR Elite и другие данные.
Официальное подтверждение Valve
Грег Кумер, дизайнер продуктов Valve, в интервью южно-корейскому изданию подтвердил, что компания работает над новой VR-гарнитурой.

“Still, I think we can definitely say that we are continuing to develop VR headsets. This is because Valve has a lot of expertise in VR devices and also has faith in the medium of VR and VR games.”
“Я думаю, мы можем с уверенностью сказать, что мы продолжаем разработку VR-гарнитур. Это связано с тем, что Valve обладает большим опытом работы с VR-устройствами, а также верит в VR и VR-игры.”
Кроме того, резюме одного из сотрудников Valve в LinkedIn подчеркивает факт разработки Deckard.

Valve недавно наняла пару очень заметных сотрудников для своих команд по аппаратному обеспечению. Один из них является первым штатным архитектором дисплеев, который имеет огромный опыт работы с OLED.
Дата выхода Valve Deckard
Valve не предоставила никаких намеков относительно даты выхода next-gen VR гарнитуры. Однако, основываясь на нескольких факторах, инсайдеры ориентируются на 2024 год.

Цена Valve Deckard
Аналитики предполагают, что гарнитура будет дорогой – не менее 1000 долларов за минимальный комплект. Однако они же предсказывают, что стоимость не превысит 1500 долларов.
Технические характеристики Valve Deckard
Очень высокая вероятность, что преемник Index последует современным трендам и станет автономным шлемом виртуальной реальности. Согласно утечкам и патентам, Valve работает над беспроводным режимом и автономными функциями.
Это будет не совсем похоже на опыт с Quest 2. VR игры, скорее всего, будут привязаны к ПК ВР, но сама гарнитура будет подключаться к ПК по беспроводному способу, используя раздельный рендеринг.
Раздельный рендеринг — это метод, используемый Virtual Desktop или AirLink, который помогает разгрузить ПК от ресурсоемких вычислительных процессов, перекладывая часть обработки на процессор VR гарнитуры.

Готовый продукт может включать новый процессор Snapdragon XR2 Gen 2 и обеспечит разрешение 4K x 4K на глаз, аналогичное Apple Vision Pro. Есть информация о том, что Valve сотрудничают с компанией eMagin – это производитель дисплеев micro-OLED. Оптика, вероятно, будет Pancake.

В сочетании все характеристики позволят запускать ААА VR игры в автономном режиме, такие как Half-Life Alyx.
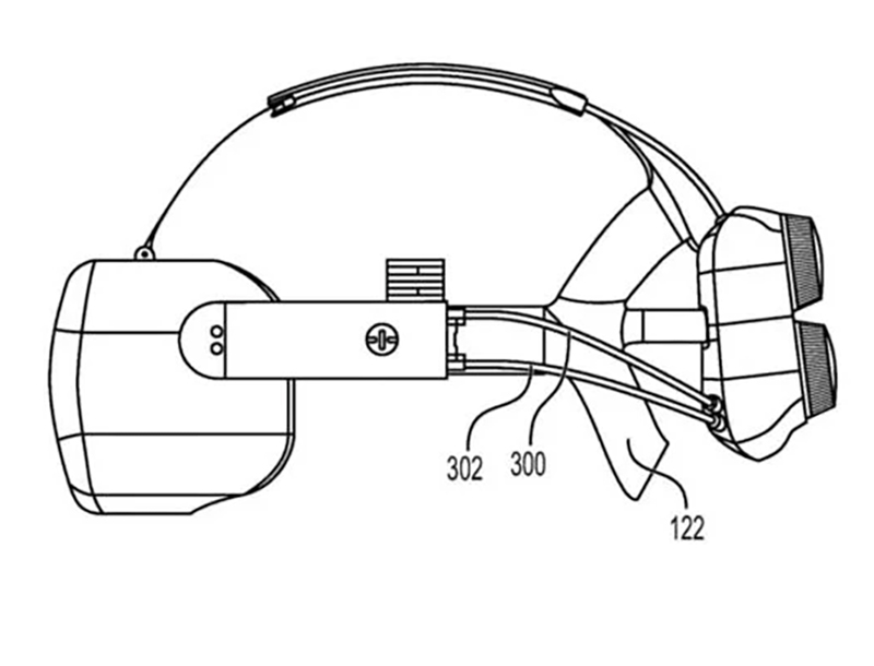
В патенте изображена гарнитура с какой-то громоздкой шайбой на креплении. Брэд Линч предположил, что это может быть второй процессор, который возьмет на себя более требовательные графические процессы.

Кроме того, Брэд Линч обнаружил строку в программном обеспечении Valve, которая ссылается на HDR. Это говорит о том, что Deckard может иметь высокую контрастность.
Будет ли в Valve Deckard функция отслеживания взгляда?
Весьма вероятно, что да, ожидается функция отслеживания взгляда. Тем более, в отличие от Quest 3, Valve не ограничивает стоимость устройств в 1000 долларов.
Технология сможет помочь повысить производительность игр с помощью фовеального рендеринга.
Смешанная реальность
Valve рассматривает возможность MR камер. Valve Index уже оснащен скрытой камерой смешанной реальности, обеспечивающую сквозную передачу в цвете, хотя она не определяет объем предметов и окружения.
Отслеживание в Valve Deckard
Самый интригующий вопрос касается системы трекинга VR шлема. Для этого Valve потребуется разработка собственной системы отслеживания, ведь ранее гарнитура полагалась на базовые станции.

Брэд Линч предсказывает. что новые контроллеры смогут быть «мини-базовыми станциями». На них будет несколько ИК-светодиодов, те же самые, что сейчас установлены в базовые станции. Светодиоды излучают лазеры, которые обнаруживаются новым поколением фотодиодов гарнитуры.

Новые VR-игры от Valve
Мы более, чем уверены, что с релизом Valve Deckard мир увидит новые игры виртуальной реальности. Вряд ли это снова будет Half-Life. Упоминаний о разработке новых вселенных нет, поэтому можно предположить, что Valve работает над сиквелом одной из своих существующих игр, таких как Portal или Left 4 Dead.
Что ж, информация довольно однозначна. Нет никаких опровергающих слухов того, о чем говорит инсайдер Брэд Линч, но нет и подтверждений.
Valve Deckard – это та гарнитура виртуальной реальности, анонс которой многие ждут в 2024 году. Index, хоть и устарел с точки зрения характеристик, всё еще одно из самых крутых VR устройств на рынке. Угол обзора, отслеживание и качество сборки до сих пор впечатляют. В новинке точно будет что-то интересное.
Горячие цены ждут!




