Когда выйдет Valve Index 2 и выйдет ли вообще?
В этом году Valve Index исполнилось 4 года. Будет ли продолжение линейки Valve Index 2, что он из себя представляет и когда его ждать?
Обзор на Valve Index в 2023 году вы можете почитать на нашем сайте. Официальной информации от Valve нет — все собранные материалы предоставлены инсайдерами.
Будет ли новый шлем от Valve?
Может показаться, что Valve отчаялись в виртуальной реальности. Новых игр после Half-Life: Alyx не выходит, все силы направлены на консоль Steam Deck. Гейб Ньюэлл открыто говорит в интервью более о нейроинтерфейсах как о будущей итерации VR-гарнитур, и не более того.
Грег Кумер, продюсер компании, поведал хорошую новость. Около года назад в корейском издании This is Game вышло интервью с ним, однако журналисты заметили ее только сейчас. Кумер подтвердил, что одно из подразделений Valve ведет работу над разработкой новой VR-гарнитуры. Деталей он, очевидно, не назвал.

Еще Кумер сообщил, что компания не хочет, чтобы игры виртуальной реальности были эксклюзивными для определенных платформ. Игры Valve будут выходить на ПК VR платформе — подразумевается цифровой магазин Steam.
Valve Index 2 или Deckard?
Никто не знает, какой нейминг будет у следующего поколения VR-шлема. Известный зарубежный блогер Брэд Линч нашел в сети патент и технические изображения наработок Valve.
Согласно найденным материалам, кодовое название шлема «Valve Deckard». Из патентов стало известно про больший угол обзора, более широком дисплее и огромных динамиках.
Интерфейс
Линч нашел и отсылки на будущий интерфейс в одном из обновлений SteamVR beta. Он почти полностью похож на интерфейс Steam Deck.

Вкладка System, вероятно, будет использоваться для просмотра обновлений и калибровки гарнитуры. Во вкладке Internet Брэд Линч нашел упоминание настройки Wi-Fi соединения - то есть, гарнитура подключается по беспроводу.
Новая игра — не Half-Life
Сложно найти человека, который назовет Half-Life: Alyx «плохой игрой». Напротив, большинство пользователей называет ее лучшей игрой за все время существования виртуальной реальности.
Portal Shop и фанаты уверены, что Valve Deckard не останется без контента. На это намекают и данные инсайдера Тайлер МакВикера: в патче Dota 2 7.31d он обнаружил проект под названием Pulse. Согласно заметкам инсайдера, в этой игре будет использоваться процедурная генерация планет.
МакВикер предсказал выход Alyx за год до ее анонса — поэтому надеемся на то, что прогнозы сбудутся во второй раз.
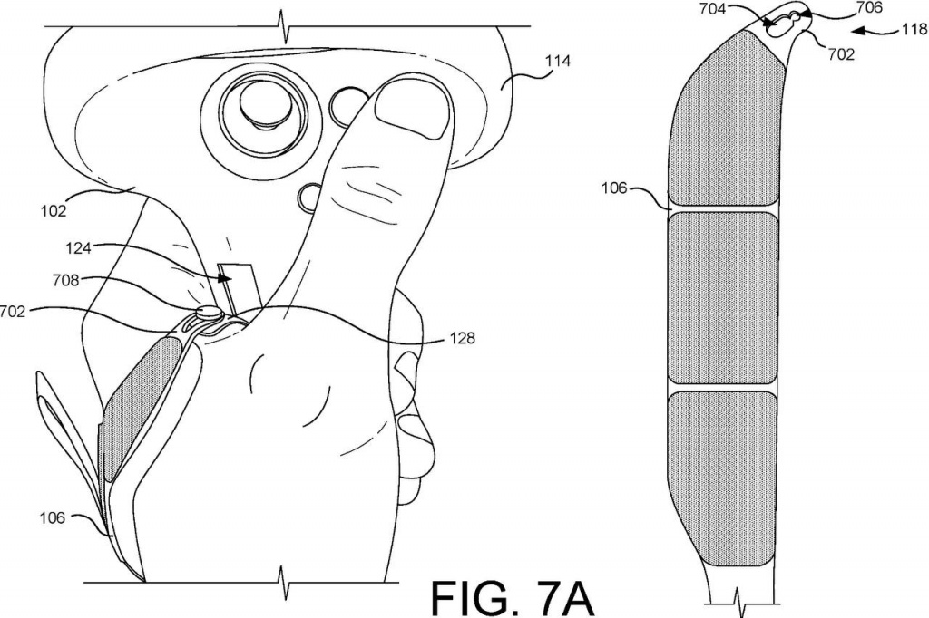
Контроллеры
В другом патенте нашли изображения контроллеров. Название гласит о наличии «линейной регулировки ремешка».

В контроллерах используются стандартные кольца датчиков, а в них присутствуют датчики Lighthouse. Рукоятки умеют отслеживать все пальцы, как Knuckles.
Отметим, что это лишь патент, и конечная форма контроллеров может измениться. Было бы здорово, если они будут схожи по эргономике с Valve Knuckles или Quest Pro Touch.
Дисплеи Valve Deckard
Технические характеристики Valve Deckard все еще опутаны плотным туманом, но журналисты нашли небольшую зацепку.
На конференции Display Week 2022 компания Emagin представила OLED-микродисплеи разрешением 3600х4000 пикселей на глаз, 2600 ppi и яркостью более 10 000 нит. Разработки получили сразу 2 награды: «Лучшая технология отображения» и «Лучшая яркость».

Примечательно то, что дисплеи установлены на плате с надписью «Steamboat». Представитель рассказал, что они разрабатываются для партнера.
Возможно, к Valve они не имеют никакого отношения — вполне может быть, что это совпадение и догадки журналистов.
Дата выхода Valve Deckard
К сожалению, нет никаких официальных данных от самих Valve. Для SteamVR продолжают выходить обновления, производство Valve Index действует по сей день.
Горячие цены ждут!




